案例1【背景资料】:
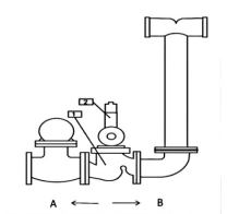
安装公司承接了某大学图书馆的消防安装工程,内容包含:消防给水及消火栓系流、自动喷水灭火系统,高压细水雾灭火系统和火灾自动报警安装,该图书馆共三层,总建筑面积为4200平方米,高14m,其中一、二层为阅览室,采用自动喷水灭火系统;三层为藏书室,采用高压细水雾灭火系统。工程开工前,项目部完成了施工组织设计及施工方案编制等技术准备工作,并由方案编制人员向施工人员进行了技术交底。交底时使用了大量的细部节点图如下图。并对消防水泵接合器组装进行交底。
工程开工后,监理单位在审查点型烟感火灾探测器进场报验资料时,发现缺少3C认证,证书经补充后通过验收。
工程完工后,建设单位组织设计单位、监理单位、施工单位进行了消防工程验收,涉及消防的各分部分项工程验收合格,并在验收合格之日起5个工作日内向消防设计审核部门办理了消防验收备案。
【问题】
1.图中1.2号件的名称是?水流是流向A还是B?
2.点型烟感火灾探测器的进场报验资料还应有哪些?
3.建设单位向消防主管部门办理验收备案的做法是否合规?
分享到:
