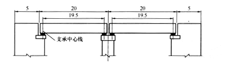
某预应力混凝土简支梁桥,总体立面布置如图所示(尺寸单位:m),则该桥的全长、多跨径总长和计算跨径分别是()。
查看答案
参考解析:
9版教材P103页
净跨径:对于梁式桥是设计洪水位上相邻两个桥墩(或桥台)之间的净距,对于拱式桥则是每孔拱跨两个拱脚截面最低点之间的水平距离。总跨径:是多孔桥梁中各孔净跨径的总和,也称桥梁孔径,它反映了桥下宣泄洪水的能力。计算跨径:对于具有支座的桥梁,是指桥跨结构相邻两个支座中心之间的距离。对于拱式桥,拱圈(或拱肋)各截面形心点的连线称为拱轴线,计算跨径为拱轴线两端点之间的水平距离。桥梁全长:简称桥长,是桥梁两端两个桥台的侧墙或八字墙后端点之间的距离。对于无桥台的桥梁为桥面系行车道的全长。桥的全长为5+20+20+5=50m。多跨径总长为20+20=40m。计算跨径为19.5m。本题的正确项只能是“D.50m,40m,19.5m”。