施工单位承建了某大桥工程,该大桥桥址位于两山体之间谷地,跨越一小河流,河流枯水期水深0.5m左右,丰水期水深2m左右,地面以下地层依次为黏土、砂砾、强风化砂岩。
该桥基础原设计为40根钻孔灌注桩,桩长12.0~13.8m不等。施工中发生如下事件:
事件一:大桥基础施工时,恰逢河流枯水期且大旱无水。施工单位考虑现场施工条件、环保、工期等因素影响,提请将原设计大桥基础钻孔灌注桩全部变更为人工挖孔桩。监理单位与相关部门评估、审定,认为该变更属于对工程造价影响较大的重要工程变更,在履行相关审批程序后,下达了工程变更令。
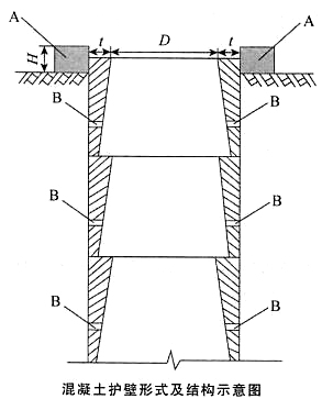
事件二:开工前,施工单位编制了人工挖孔桩专项施工方案,为保证施工安全,人工挖孔桩施工采用分节现浇C25混凝土护壁支护,每节护壁高度为1m,桩孔混凝土护壁形式及结构如下图所示。挖孔施工过程中,发现地层中有甲烷、一氧化碳等气体,施工单位重新修订了专项施工方案。
事件三:桩基础人工挖孔施工中,施工单位采取了如下做法:
(1)挖孔作业时,至少每2h检测一次有毒有害气体及含氧量,保持通风;孔深大于10m时,必须采取机械强制通风措施。
(2)桩孔内设有带罩防水灯泡照明,电压为220V。
(3)桩孔每开挖2m深度浇筑混凝土护壁。
【问题】
1.事件一中,监理工程师下达工程变更令之前,须履行哪两个审批程序?
2.图中,混凝土护壁形式属于外齿式还是内齿式?写出构造物A的名称,说明混凝土护壁节段中设置的管孔B的主要作用。
3.根据《公路工程施工安全技术规范》,图中标注的D与H的范围是如何规定的?事件二中,为防止施工人员发生中毒窒息事故,挖孔施工现场应配备哪些主要的设备、仪器?
4.事件三中,逐条判断施工单位的做法是否正确?若错误,予以改正。
5.该大桥挖孔桩修订后的专项施工方案是否需要专家论证审查?说明理由。
分享到:
